![]() |
![]() |
Influence du Salbumol® sur les mouvements fœtaux
(Tococinon™) |
Influence du Valium® sur les mouvements fœtaux
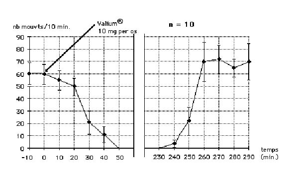
(Tococinon™) |

Influence de la morphine sur les mouvements fœtaux (Tococinon™)
| Iconographie précédente | Retour cours |